出炉!2025年度上海市科学技术奖提名结果公示(附名单)

2025-09-30
信息来源:上海市科学技术委员会
图片
图源:上海市科学技术委员会

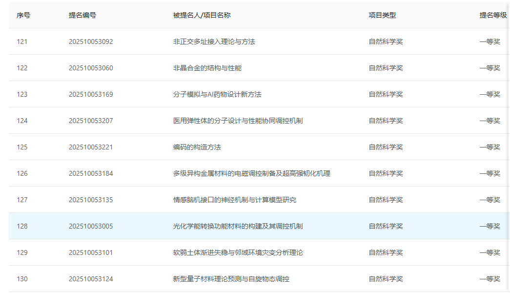
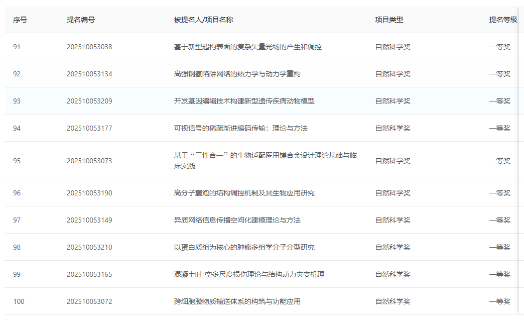
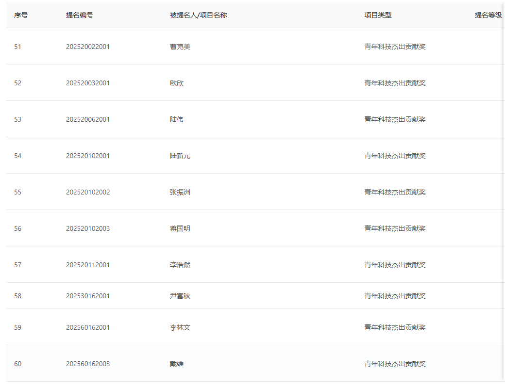
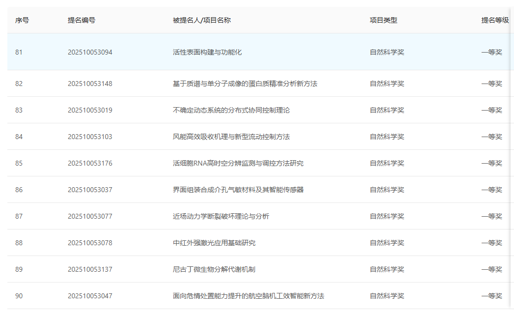
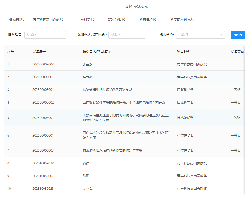
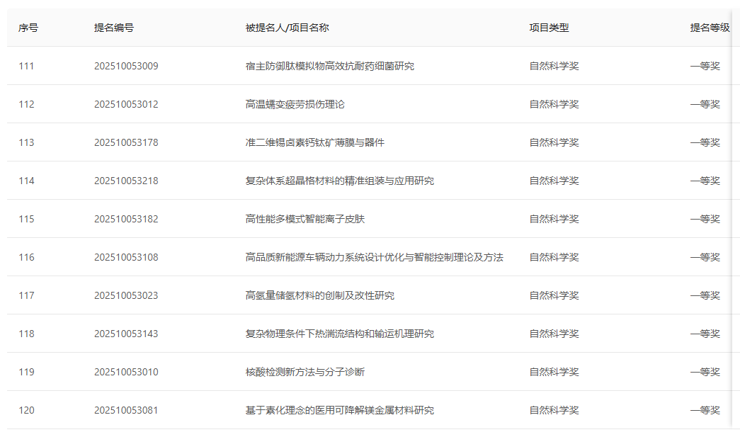
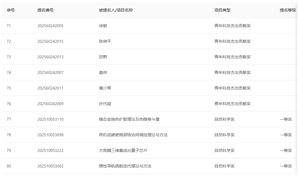
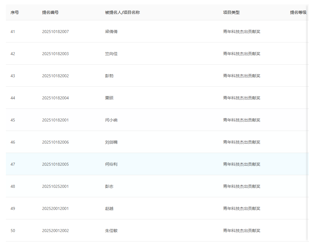
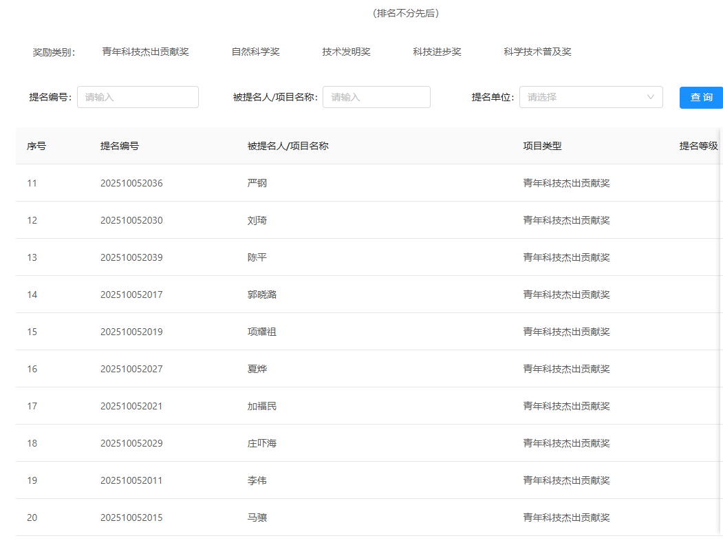
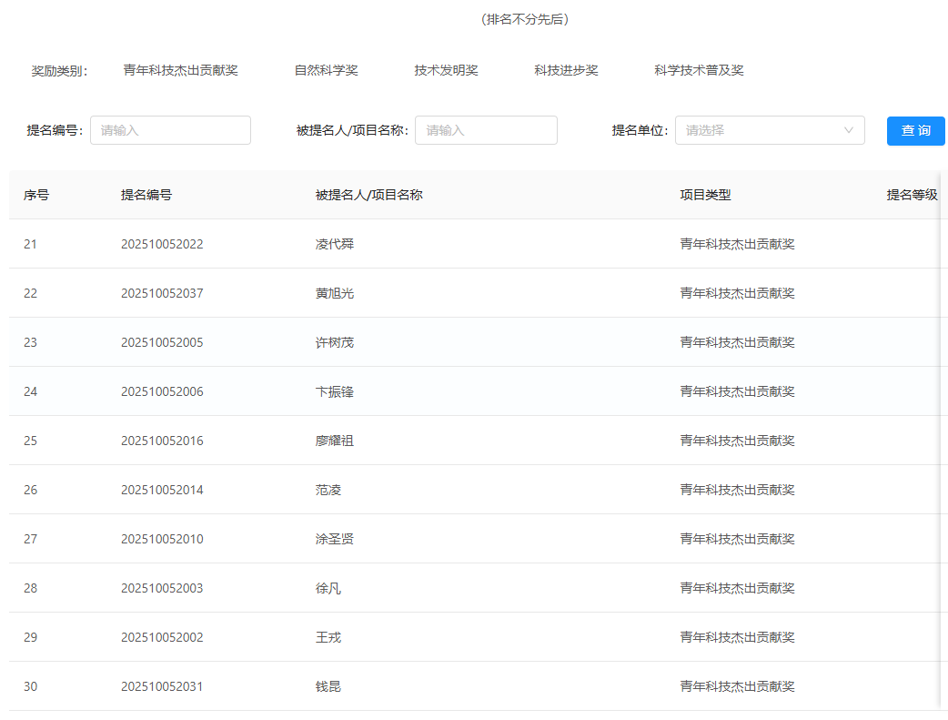
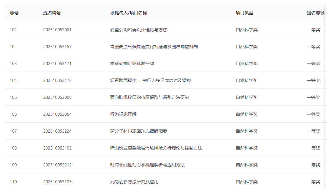
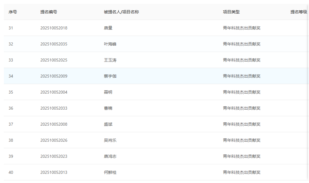
2025年度上海市科学技术奖提名工作已结束,我办收到提名单位和提名专家提名的候选人、候选项目合计1097项(人)。根据《上海市科学技术奖励规定》及其实施细则,现对通过形式审查的71位青年科技杰出贡献奖提名候选人,230项自然科学奖提名候选项目,123项技术发明奖提名候选项目,562项科技进步奖提名候选项目,31项科学技术普及奖提名候选项目予以公示。

自受理项目(人)公示之日起10日内,任何单位或个人如对被提名候选人、候选项目的创新性、先进性、实用性及提名材料的真实性有异议,或对被提名项目主要完成人、主要完成单位有异议的,应当以书面方式向我办提出,并提供必要的证明材料。超出期限的异议不予受理。

为便于核实查证,确保客观公正及时地处理异议,提出异议的单位或个人应当表明真实身份,并提供有效联系方式。个人提出异议的,须在书面异议材料上签署真实姓名;以单位名义提出异议的,须加盖本单位公章。我办严格按有关规定对异议人身份予以保护。

特此公示。

通讯地址:上海市中山西路1525号技贸大厦12楼

邮政编码:200235

联系电话:64690016

附件:2025年度上海市科学技术奖提名候选项目(人)

上海市科学技术奖励管理办公室

2025年9月30日

图片
图片
图片
图片
图片
图片
图片
图片
图片
图片
图片
图片
图片


下一篇:这是最后一篇
上一篇:这是第一篇